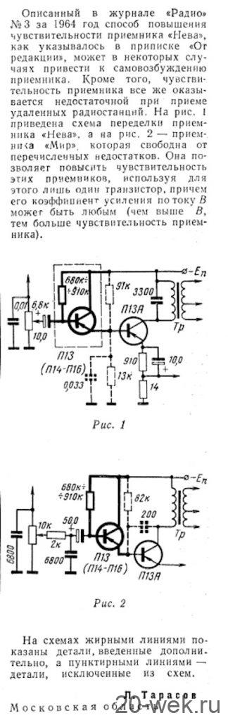
Портативный транзисторный радиоприёмник "Мир" с начала 1962 года выпускал Минский радиозавод. Супергетеродинный радиоприёмник ''Мир'' разработан в СКБ Минского радиозавода. Приёмник представляет собой супергетеродин, работающий в диапазонах ДВ и СВ, собранный на шести транзисторах типа П401 и П13А, с питанием от батареи типа ''Крона'' или аккумуляторной батареи 7Д-0,12 с напряжением 9 вольт. Приём осуществляется на внутренние магнитные антенны. Средняя чувствительность приёмника в диапазонах: ДВ - 3,0, СВ - 2,0 мВ/м. Избирательность по соседнему каналу - 16...20 дБ. Номинальная выходная мощность 70 мВт при коэффициенте нелинейных искажений 10%. Полоса звуковых частот воспроизводимых громкоговорителем 0,25ГД-1 450...3000 Гц. Действие АРУ равно 12 дБ. ПЧ - 465 кГц. Ток покоя около 5...7,5 мА, работоспособность сохраняется при снижении питания до 5,6 В. При питании радиоприёмника от аккумулятора, его подзарядка производится от сети без вынимания из отсека. Длительность непрерывной работы приёмника при средней громкости от батареи Крона ~ 20 часов, от аккумулятора 7Д-0,12 - 10 часов. Размеры приёмника 125х72х38 мм. Вес с батареей 340 грамм. Корпус изготовлен из цветного полистирола. Цена приёмника 41 рубль 40 копеек. Ремонт и характерные неисправности, схема. Радио №8/1965, ст. 58